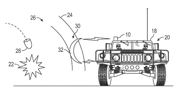
The design – named "method and system for shockwave attenuation via electromagnetic arc" – would not guard against direct impact from projectiles. Instead, it is designed to protect a target, such as a building or a vehicle, from shrapnel and shockwaves created by a nearby strike.

Boeing, the aviation giant and world’s second-largest defense contractor, has patented the shockwave attenuation system, which consists of an onboard sensor and an arc generator. The sensor detects the nearby explosion, then sends a signal to the generator, causing it to ionize a small region, producing a plasma field between the target and the explosion using lasers, electricity and microwaves.
This small plasma field would differ from the surrounding environment in temperature, density and/or composition. This would provide a buffer between the target and the explosion that would hinder the shockwaves from reaching and damaging the target.
According to the patent: "Such embodiments as described above may reduce the energy density of the shockwave by creating a second medium in the path of the advancing shockwave that reflects, refracts, absorbs and deflects at least a portion of the shockwave.”
Because the system heats and ionizes the air, it is not suitable for enveloping a target and being held in place for any length of time – like those energy shields of “Star Wars” fame. It is technically possible to create that kind of force field however (physics students last year determined that an electromagnetic field could be used to hold a plasma shield in place) but it would likely also deflect light, leaving anyone inside it totally in the dark.

